Vapausasteet

Sallittujen vapausasteiden määrittely

Vertex G4: Ohjelman vihjeteksti kertoo osien vapausasteen, eli onko osa esimerkiksi riittävästi määritelty tai alimääritelty.
Vertex G4Plant ja G4: Näet kokoonpanopuun symboleista onko osa/alikokoonpano lukittu, täysin määritelty, alimääritelty (-) tai ylimääritelty (+).

Kokoonpanopuun symbolit ja merkinnät

Sallittu vapausaste tarkoittaa vapaata liikettä vapausasteen suunnassa. Esimerkiksi ruuvi kiertyy reiässä tai liukupala liikkuu uran suunnassa.

Kirjastokomponentin vapausasteilla sallit komponentille liikkeen X-, Y- tai Z-akselien suuntaan ja kierron koordinaattiakselien ympäri kokoonpanon kinemaattisessa tarkastelussa. Voit sallia täysin vapaan liikkeen tai rajoittaa sen tietylle alueelle.

Kun lisäät kirjastokomponentin kokoonpanoon, se sidotaan kokoonpanoon linkillä, josta käytetään nimitystä Vapausasteet. Se näkyy kokoonpanopuussa osan geometrisena ehtomäärityksenä, rajoituksena. Kirjastokomponentti ei liiku kokoonpanossa (oletusarvo), ellei sille määritetä vapausasteita.

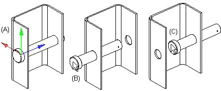
Kirjastokomponentin kahvassa näkyy koordinaattiakselisto (A), jonka värit kuvaavat X-akselia (punainen), Y-akselia (vihreä) ja Z-akselia (sininen). Sallitaan Z-akselin suuntainen liike. Kun komponenttia vedetään (B) (C), se liikkuu vain Z-akselin suunnassa.

Määritä komponentin liikkeen vapausasteet seuraavasti:

  1. Valitse kokoonpanopuusta kirjastokomponentti.
  2. Valitse rajoitus Vapausasteet ja toiminto Muokkaa. Komponentin kahvassa näkyy koordinaattiakselisto, jonka värit kuvaavat X-akselia (punainen), Y-akselia (vihreä) ja Z-akselia (sininen).
  3. Täydennä keskusteluikkunaan tiedot:
    • Keskimmäisen kentän arvo on 0 (oletusarvo). Se on komponentin kahva, jolle voit määrittää muun arvon silloin, kun komponentin tarkka paikan osoitus suoraan kokoonpanosta ei onnistu.
    • Valitse Siirtymä, kun sallit komponentin siirtymän X-, Y- tai Z-akselien suhteen. Keskusteluikkunan kaksi muuta kenttää aktivoituu. Täydennä kenttiin liikettä rajoittavat arvot tai jätä kentät tyhjiksi, joka sallii täysin vapaan liikkeen.
    • Valitse Kiertymä, kun sallit komponentin kiertymän X-, Y- tai Z-akselien suhteen. Kiertymän määrität oikean käden säännöllä. Peukalo osoittaa akselin suuntaan ja nyrkin sormien suunta määrittää positiivisen kiertymän. Täydennä kiertoa rajoittavat kulmien arvot tarvittaessa.
  4. Valitse OK.
Huomaa:
  • Putkistosuunnittelussa (Optio) määritellään putkikomponentin ehdolle Kahvaliitos vapausasteet samalla tavoin kuin ehdolle Vapausasteet.
  • Ohjelman tippiteksti kertoo osien vapausasteen. Sen onko osa riittävästi määritelty vai alimääritelty. Sallittu vapausaste tarkoittaa, ruuvin tai mutterin kiertymää reiän tai tapin ympäri, esimerkiksi.