The Tile Roof Data Dialog Box
Define values for the parameters affecting roof tile spacing in the dialog box.
Dialog Box Options
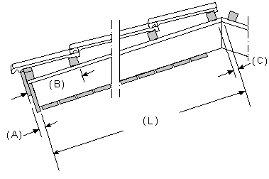
- Eave trim (A)
- The total thickness of eave trims.
- Eave tile (B)
- The distance of the 1st batten from the eave.
- Ridge tolerance (C)
- The distance of the last batten from the ridge.
- Max. tile spacing
- Enter the maximum allowed tile spacing in the text field.

