Perusportaat: U-portaat
Valitse portaan parametrit keskusteluikkunassa.
Sivu Yleinen
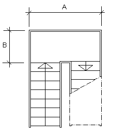
- Leveys, Portaiden korkeus, Etenemä
- Portaan päämitat. Leveys on yhden syöksyn leveys. Anna arvot tekstikenttiin.
- Vasemman puolen pituus
- Esikatseluikkunassa näkyvän portaan vasemman puolen pituus. Ohjelma laskee mitan parametrien Etenemä, Askelmien lkm vasemmalla ja joko parametrin Kulman pituus pystysuunnassa tai Lepotason leveys (sivulla Kulma) perusteella.
- Oikean puolen pituus
- Esikatseluikkunassa näkyvän portaan oikean puolen pituus. Ohjelma laskee mitan parametrien Etenemä, Askelmien lkm oikealla ja joko parametrin Kulman pituus vaakasuunnassa tai Lepotason pituus (sivulla Kulma) perusteella.
- Kokonaisleveys
- Ohjelma laskee mitan parametrien Etenemä, Suorien askelmien lkm keskellä ja joko Kulman pituus vaakasuunnassa tai Lepotason pituus (sivulla Kulma) perusteella.
- Nousu
- Ohjelma laskee mitan parametrien Portaiden korkeus ja Askelmien kokonaislkm perusteella.
- Askelmat
- Anna parametrit Askelmien lkm vasemmalla, Askelmien lkm oikealla ja Suorien askelmien lkm keskellä tekstikenttiin. Ohjelma laskee parametrin Askelmien kokonaislkm.
- Päivitä
- Päivitä parametrien muutokset esikatselukuvaan.
- Näytä 3D
- Vaihda portaan 3D-malli näkyviin esikatseluikkunaan.
Sivu Kulma
Kulma-sivulla valitaan portaan kulmiin joko askelmat tai lepotaso. Askelmat voivat olla joko samanlaiset molemmissa kulmissa tai erilaiset kummassakin kulmassa. Lepotasoksi voidaan valita yksi lepotaso, tai kaksi samanpituista lepotasoa, joiden välillä on korkeusero.
- Samanlaiset askelmat kulmassa
- Anna askelmien mitat Kulman pituus vaakasuunnassa ja Kulman pituus pystysuunnassa sekä parametri Kulma-askelmien lkm.
- Erilaiset askelmat kulmissa
- Voit määrittäää kumpaankin kulmaan eri mitat. Valitse kulma Käytä mittoja kulmassa -luettelosta. Anna parametrit Kulman pituus vaakasuunnassa ja Kulman pituus pystysuunnassa tekstikenttiin. Valitse toinen kulma ja anna sen arvot tekstikenttiin. Ohjelma laskee parametrin Kulma-askelmien lukumäärä.
- 1 lepotaso
- Anna parametrit Lepotason pituus, Lepotason korkeus ja Lepotason leveys tekstikenttiin.
- 2 lepotasoa
- Anna parametrit Lepotason pituus, Lepotason korkeus ja Lepotason leveys tekstikenttiin. Lepotasoilla on samat mitat, mutta niiden välillä on parametrin Lepotason korkeus suuruinen korkeusero.
Sivu Kirjasto
Keskusteluikkunan sivulla Kirjasto voidaan valittu parametrisarja tallentaa porraskirjastoon, josta porras voidaan myöhemmin valita lisättäväksi ilman parametrien uudelleen asettamista.
- Hae
- Valitse porraskirjastoon tallennetun portaan tunnus luettelosta ja napsauta Hae-painiketta.
- Tallenna
- Tallenna valitsemasi portaan parametrit. Anna portaan tunnus Tallenna-kenttään tai valitse olemassa oleva tunnus esivalinnoista. Napsauta Tallenna-painiketta.
- Poista
- Poista porras porraskirjastosta. Valitse portaan tunnus luettelosta ja napsauta Poista-painiketta.




