Basic Stairs: U Stair
Select the stair parameters in a dialog box.
Tab: General
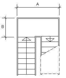
- Width, Height of the stairs, Tread
- The main dimensions of the stairs. Width is the width of one flight. Type the values in the text fields.
- Length of the left side
- The length of the left side of the stairs displayed in the preview window. The program will calculate this dimension based on the Tread and Number steps, left parameters, and either the Vertical length of the corner or the Width of the landing (on the Corner tab) parameter.
- Length of the right side
- The length of the right side of the stairs displayed in the preview window. The program will calculate this dimension based on the Tread and Number of steps, right parameters, and either the Horizontal length of the corner or the Length of the landing (on the Corner tab) parameter.
- Total width
- The program will calculate this dimension based on the Tread and Number of straight steps in the middle parameters, and either the Horizontal length of the corner or the Length of the landing (on the Corner tab) parameter.
- Riser
- The program will calculate this dimension based on the Height of the stairs and Total number of steps parameters.
- Steps
- Type the Number of steps, left, Number of steps, right and Number of straight steps parameters in the text fields. The program will calculate the value of the Total number of steps parameters.
- Refresh
- Update the changes in the parameters in the preview window.
- View 3D
- Switch the 3D model of the stairs into the preview window.
Tab: Corners
On the Corner tab, you can select either steps or a landing for the corner of the stairs. Steps may be either similar in both corners or different in each corner. The landing selection can be either one landing, or two landings of a similar length with difference in the elevation in between.
- Similar steps in corners
- Type the step dimensions, the Horizontal length of the corner and the Vertical length of the corner, as well as the parameter Number of corner steps.
- Different steps in corners
- You can select different dimensions for both corners. Select the corner from the Use dimensions in corner list. Type the values for the Horizontal length of the corner and Vertical length of the corner parameters in the text fields. Select the other corner and type its values in the text fields. The program calculates the Number of corner steps parameter.
- One landing
- Type values for the Length of the landing, Height of the landing and Width of the landing parameters in the text fields.
- Two landings
- Type values for the Length of the landing, Height of the landing and Width of the landing parameters in the text fields. The dimensions of the landings are the same, but there is a difference in height between them determined by the Height of the landing parameter.
Tab: Library
On the Library tab, you can save the selected set of parameters in the stair library, from which you can later add the stairs without needing to redefine the parameters.
- Search
- Select the label of a staircase saved in the staircase library from the list and click the Load button.
- Save
- Save the parameters of the selected staircase. Type the label of the staircase in the Save field or select an existing label from the list. Click the Save button.
- Delete
- Delete a staircase from the staircase library. Select the label of a staircase from the list and click the Delete button.




