Räystään siirtäminen -keskusteluikkuna
Valitse tiilikaton parametrit ja laske uusi lappeen pituus keskusteluikkunassa.
Keskusteluikkunan valinnat
- Osoita räystäs
- Napsauta painiketta ja osoita vertailuräystäs piirustusikkunassa. Valitse vertailuräystääksi räystäs, jonka mukaan haluat määrittää ruodejaon. Lapemitta harjalta räystäälle päivittyy kenttiin Lyhyempi mitta (2) ja Pidempi mitta (3). Lapemitta määräytyy jollakin seuraavista tavoista:
- Lyhyempi mitta (2), Pidempi mitta (3)
- Jos räystäs on vino, lyhyen ja pitkän sivun etäisyydet lappeen harjalta päivittyvät tekstikenttiin. Valitse kumman mitan mukaan ruodejako määritetään napsauttamalla mitan vieressä olevaa Valitse-painiketta.
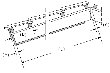
- Räystäslauta (A), Räystästiili (B), Harjatoleranssi (C)
- Anna tekstikenttiin lapemittaan vaikuttavien parametrien arvot.
- Maksimiruodejako
- Anna tekstikenttään suurin sallittu ruodejako.
- Ruodejako, Tiililukumäärä
- Laske lapemittaan sopiva ruodejako (£ Maksimiruodejako) ja tiilien lukumäärä napsauttamalla Laske-painiketta. Ruodejakoa käytetään uuden lapemitan laskennassa, ja parametrin arvo päivittyy myös Uusi lapemitta -kohdassa olevaan Ruodejako-kenttään.
- Osoita räystäs
- Napsauta painiketta ja osoita siirrettävä räystäs piirustusikkunassa.
- Lyhin mitta (5), Pisin mitta (6)
- Jos siirrettävä räystäs on vino, lyhen ja pitkän sivun etäisyydet lappeen harjalta päivittyvät tekstikenttiin. Valitse kumman mitan mukaan siirros määritetään napsauttamalla mitan vieressä olevaa Valitse-painiketta.
- Tiililukumäärä
- Ohjelma laskee tiililukumäärän automaattisesti. Lukumäärästä puuttuu 1. räystäällä oleva tiili. Puuttuva tiili huomioidaan korjausparametrien avulla. Jos muokkaat ruodejakoa, laske tiilien lukumäärä napsauttamalla tekstikentän alapuolella olevaa Laske-painiketta.
- Ruodejako
- Voit hyväksyä ohjelman laskeman ruodejaon tai antaa tekstikenttään haluamasi arvon. Laske sen jälkeen tiilien lukumäärä napsauttamalla Tiililukumäärä-kentän alapuolella olevaa laskepainiketta.
- Korjausparametrit
- Ohjelma laskee kentän arvon parametrien Räystäslauta (A), Räystästiili (B) ja Harjatoleranssi (C) avulla.
- Uusi lapemitta
- Laske uusi lapemitta napsauttamalla kentän alapuolella olevaa Laske-painikettä. Lapemitan muutos päivittyy kenttään Muutos.
- Muutos
- Lapemitan muutos entiseen verrattuna.
- Siirrä
- Jos haluat siirtää toista samalla lappeella olevaa räystästä, hyväksy ensimmäiselle räystäälle laskemasi muutos Siirrä-painikkeella. Ohjelma siirtää räystästä lasketun muutoksen verran. Jatka osoittamalla uusi siirrettävä räystäs. Poistu lopuksi keskusteluikkunasta OK-painikkeella.
- OK
- Hyväksy viimeksi laskemasi lapemitan muutos ja sulje keskusteluikkuna OK-painikkeella. Ohjelma siirtää räystästä lasketun muutoksen verran.



Voit osoittaa myös saman
räystään, jonka valitsit vertailuräystääksi.