Tiilikaton ruodejaon ja räystään jatkeen laskenta
Voit lisätä tiilikaton räystään ja harjan välille erikoismittaehdon, jonka avulla määrität tiilikaton ruodejaon ja lasket räystään jatkeen pituuden. Ruodejako ja jatkeen pituus päivittyvät automaattisesti kattokaltevuuden muuttuessa. Määritä erikoismittaehto seuraavasti:
- Sido mitoittava räystäs seinään.
- Määritä ruodejako erikoismittaehdon avulla.
- Määritä jatkeen pituus erikoismittaehdon avulla.
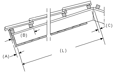
1. Sido mitoittava räystäs seinään
Määritä ensin mitoittava räystäs paikallaan pysyväksi. Lisää etäisyysehto, jolla sidot mitoittavan räystään (A) seinään (B).

2. Määritä ruodejako
Määritä ruodejako lisäämällä erikoismittaehto mitoittavan räystään ja harjan välille.

- Valitse Mallinnus | Liitos |
Etäisyys. - Valitse räystäsviiva (A).
- Valitse harja (B).
- Osoita etäisyysmitan paikka (C). Ehdon tiedot -keskusteluikkuna avautuu.
- Napsauta Kaava-painiketta.
- Valitse Kaava-luettelosta vaihtoehto calc_#spacing.
- Hyväksy OK-painikkeella. Tiilikaton tiedot -keskusteluikkuna avautuu.
- Määritä laskentaparametrit keskusteluikkunassa.
- Räystäslauta (A) - Räystäslautojen yhteispaksuus.
- Räystästiili (B) - 1. ruoteen etäisyys räystäältä.
- Harjatoleranssi (C) - Viimeisen ruoteen etäisyys harjalta.
- Maksimiruodejako - Anna tekstikenttään suurin sallittu ruodejako.

- Hyväksy OK-painikkeella. Laskentaparametrit tallentuvat lappeelle.
3. Määritä jatkeen pituus
Lisää etäisyysehto mitoittavan räystään ja räystään jatkeen välille.

- Valitse Mallinnus | Liitos |
Etäisyys. - Valitse mitoittavan räystään viiva (A).
- Valitse räystään jatkeen viiva (B).
- Osoita etäisyysmitan paikka (C). Ehdon tiedot -keskusteluikkuna avautuu.
- Napsauta Kaava-painiketta.
- Valitse Kaava-luettelosta vaihtoehto tiilien_lukumäärä*#spacing*cos(#pitcha), esimerkiksi 5*#spacing*cos(#pitcha). Muokkaa tarvittaessa kaavaa muuttamalla tiilien lukumäärää, esimerkiksi 4*#spacing*cos(#pitcha).
- Hyväksy OK-painikkeella.
Kun olet lisännyt erikoismittaehdon, voit muuttaa tiilien lukumäärä jatkeella muokkaamalla etäisyysehdon ominaisuuksia. Kaksoisnapsauta etäisyysehtoa, ja muuta tiilien lukumäärää Kaava-kentässä.
